近日,江苏澳亚塑业有限公司自主研发的“一种溶液加注装置”荣获国家知识产权局颁发的发明专利证书(授权公告日:2025年9月23日)。这是公司在产品创新与自主研发方面取得的又一重要突破。

该发明专利摘要如下:
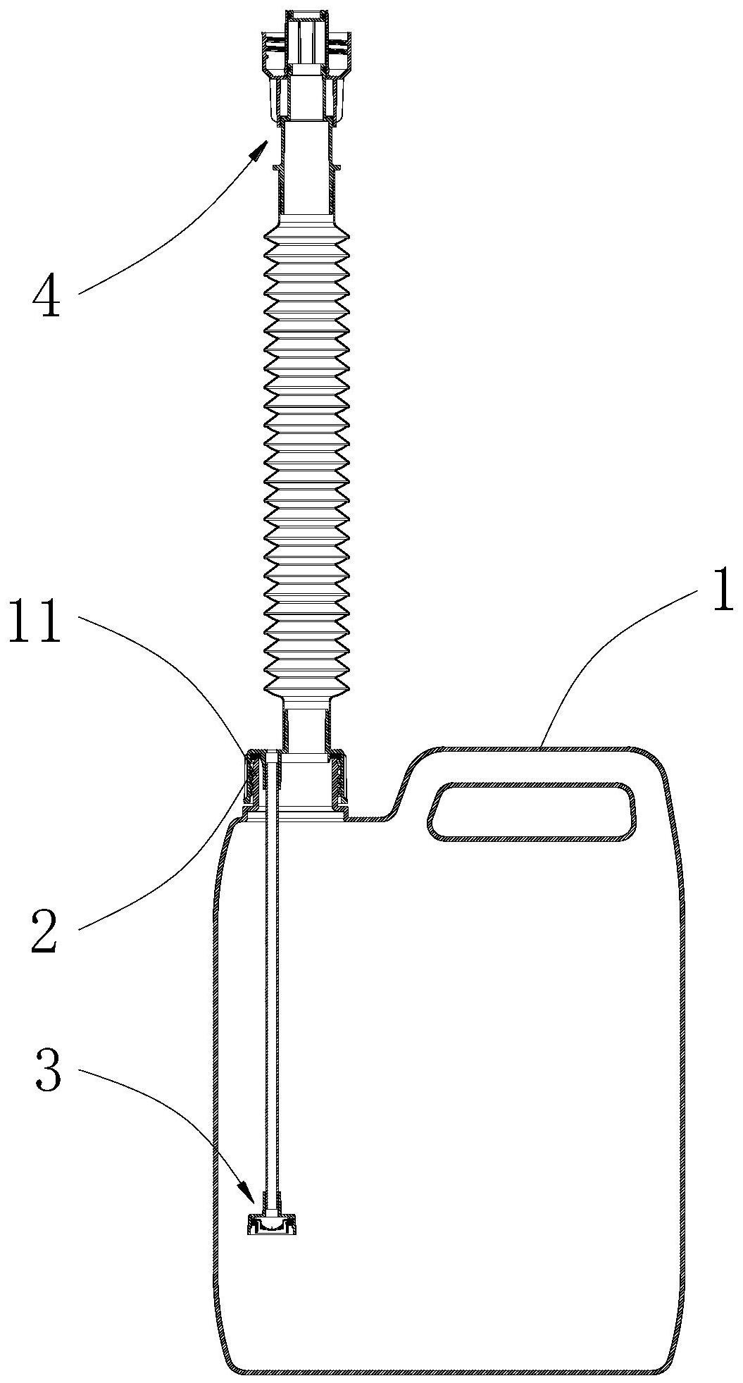
本发明公开了一种溶液加注装置,包括上部具有开口的容器、与开口连接的第一盖体、设于第一盖体上的进气口和出液口、与进气口连通的且位于容器中的进气组件、与出液口连通的且位于容器外的出液组件;进气组件包括上端部与进气口连通的进气管、连接在进气管下端部的单向阀,单向阀向下伸入容器中的深度为h,容器的高度为d,其中h≥d/2。本发明溶液加注装置,操作简单,加注效率较高,对瓶子的材质要求相对较低。

摘要附图
展望未来,澳亚塑业将继续坚定不移地走创新驱动、高质量发展之路。公司将进一步深化技术研发体系,致力于将更多创新成果转化为能够满足市场需求的产品,推动行业技术升级,实现企业的可持续发展。